河北工业大学“双五星”专利推介(制造业)
时间:2026-03-25 作者: 访问量:
为深入贯彻落实《国家知识产权局关于纵深推进专利转化运用专项行动加快形成长效机制的通知》(国知发运字〔2025〕16号)和《关于重点推进“双五星”专利转化运用 加快实施一批专利产业化项目的通知》(国知办函运字〔2025〕633号),加快推进专利转化运用,加速科技成果向现实生产力转化,我校启动“双五星”专利系列推介工作,推动高价值专利转化实施和产业化落地。本期重点聚焦制造业。
(“双五星”专利是指在高校和科研机构存量专利盘活系统中,高校和科研机构自评价值为五星级、且有一家及以上企业他评价值为五星级的专利。)
NO.1
专利名称:一种结构对称的非隔离型升压逆变电路
专利号:ZL201910508590.1
发明人:李文华、张贺、胡琦、解卫东
拟转化方式:转让、许可
技术成熟度:试生产、应用开发阶段
专利简介:
本发明公开了一种结构对称的非隔离型升压逆变电路,涉及电力电子逆变技术领域,用于提高非隔离型逆变器的升压能力。所述结构对称的非隔离型升压逆变电路采用可变占空比和改变电容放电路径实现升压逆变。具体由升压网络、能量传递网络和逆变网络三部分组成。其中升压网络包括:输入直流电源Uin、电感L1,开关管S1,开关管S4。能量传递网络包括:直流电源Uin、电感L1、二极管D1、二极管D2、电容C1,电容C2。逆变网络由电容C1,电容C2,开关管S2,开关管S3,开关管S5,开关管S6与负载组成。所述结构对称的非隔离型升压逆变电路具有升压功能,且输入电流连续、电路开关损耗低、系统可靠性高。适用于输入电压低且范围变化大的场合。

NO.2
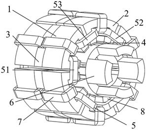
专利名称: 一种轴向模块化磁通反向电机
专利号:ZL202110548807.9
发明人:苏鹏、申怡、王一维、李永建、刘晓明、胡艳芳
拟转化方式:许可
技术成熟度:试生产、应用开发阶段
专利简介:
本发明公开了一种轴向模块化磁通反向电机,该电机包括若干个沿轴向分布的模块化单元;每个模块化单元均包括一个定子铁心和一个转子铁心。本发明通过模块化设计,使得电机空载磁链幅值得以增加,同时电机具有绕组互补性,大大减少或抵消单个线圈永磁磁链和感应电势中的偶次谐波分量,偶次谐波抵消,优化了电机永磁磁链的正弦性,减小电机反电势谐波含量,抑制电机输出转矩脉动。本发明具有转矩密度和功率密度高、转矩脉动小的优点。

NO.3
专利名称:一种模块化转子混合励磁磁通反向电机
专利号:ZL202110548813.4
发明人:苏鹏、王一维、申怡、李永建、刘晓明、胡艳芳
拟转化方式:许可
技术成熟度:试生产、应用开发阶段
专利简介:
本发明为一种模块化转子混合励磁磁通反向电机,包括定子和转子;定子包括电枢绕组和至少一个沿电机轴向排布的定子模块,每个定子模块包含两个定子单元,相邻两个定子单元之间均嵌有隔磁环;每个定子单元包括定子铁心和励磁线圈,多个定子铁心呈圆周均匀排布,每个定子铁心的轭部均绕置有励磁线圈,定子铁心的两个定子齿表面均贴装有永磁体;电枢绕组的同一个电枢线圈绕置在同一个定子单元相邻的两个定子齿上;转子包括数量与定子模块相同的转子模块,每个转子模块包含两个转子单元,两个转子单元安装位置的圆心角相差45°。每个转子模块的两个转子单元相互配合,减小电机输出转矩的脉动,在电机运行时能够产生更小的振动和噪声。

NO.4
专利名称:一种径向与轴向双模块化磁通切换电机
专利号:ZL202110548820.4
发明人:苏鹏、王一维、申怡、李永建、胡艳芳
拟转化方式:许可
技术成熟度:试生产、应用开发阶段
专利简介:
本发明为一种径向与轴向双模块化磁通切换电机,包括定子和转子;定子包括电枢绕组和至少一个沿轴向排布的定子模块,每个定子模块包括两个定子单元,每个定子模块的两个定子单元之间以及相邻两个定子模块相邻的两个定子单元之间均嵌有隔磁环;每个定子单元包括永磁体和多个呈圆周排布的定子铁心,相邻两个定子铁心之间嵌入永磁体;电枢绕组的同一个电枢线圈沿电机轴向绕置在所有定子单元相同位置的定子铁心的导磁桥臂上;转子包括数量与定子模块相同的转子模块,每个转子模块包含两个转子单元,每个转子模块的两个转子单元安装位置的圆心角相差180°。该电机永磁磁链的谐波波形更接近于正弦波,减少了电机输出转矩的脉动,减少了振动和噪声。

NO.5
专利名称:利用变容管实现频率调谐的无线电能传输装置
专利号:ZL202011197883.1
发明人:金亮、巩德鑫、刘素贞、张闯、张哲瑄
拟转化方式:转让、许可、作价入股
技术成熟度:样品、实验阶段
专利简介:
本发明提供了一种利用变容管实现频率调谐的无线电能传输装置,包括发射端和接收端,所述发射端包括供电单元、谐振补偿电容模块、高频逆变模块、检测模块、控制模块和发射线圈,所述供电单元为所述谐振补偿电容模块、高频逆变模块提供电能,所述控制模块根据检测模块对发射线圈的信息采集,通过控制所述谐振补偿电容模块对所述高频逆变模块的谐振频率进行调整。针对变容管供电方式复杂、单个变容管电容量调节范围有限、变容管正常工作电压保护等问题提供了合理的解决方案与措施,设计出一个电容量调节灵活度高且调节范围广、工作可靠性高的电源自供给谐振补偿电容模块。

NO.6
专利名称:一种调节灵活方便装卸的建筑施工脚手架
专利号:ZL202323392314.4
发明人:贾宇涵、张玉芬、线登洲、贾立勇、林国海
拟转化方式:转让、许可、作价入股
技术成熟度:样品、实验阶段
专利简介:
本实用新型为一种调节灵活方便装卸的建筑施工脚手架,脚手架分为多层,每层包括多个成排布置的支撑单体;所述支撑单体包括空心竖杆、支撑板、杆板连接座和可伸缩连接管;空心竖杆两两为一组分别通过杆板连接座与支撑板滑动连接,支撑板同侧的两个空心竖杆之间的间距可调,支撑板同侧的两个空心竖杆之间设有可伸缩连接管;可伸缩连接管包括第一调节管、第二调节管、卡接管、第三调节管和连接卡扣;第二调节管的一端从第一调节管的另一端插入到第一调节管内,第三调节管从第二调节管的另一端插入到第二调节管内,第二调节管中部的调节管齿轮同时与第一调节管内壁上的齿条和第三调节管端部的齿条啮合,卡接管套接第二调节管的另一端和第三调节管上,连接卡扣实现卡接管与第三调节管的连接。该脚手架对安装空间有限、复杂多变的施工环境具有较强的适应性。

NO.7
专利名称:一种楔形预紧的二维柔顺振动平台
专利号:ZL201910022544.0
发明人:商鹏、黄思硕、刘腾、景秀并、王福军、毛翔、戚开诚、田佳
拟转化方式:转让、自行应用或产业化
技术成熟度:样品、实验阶段
专利简介:
本发明公开了一种楔形预紧的二维柔顺振动平台,包括驱动源、柔顺振动平台、基座和楔形预紧装置;所述柔顺振动平台包括圆弧型柔性铰链、外侧直梁型柔性铰链、工作台、内侧直梁型柔性铰链和柔顺振动平台外侧架体。当两个方向的驱动源同时运动时,使工作台产生了两个方向的机械振动,实现了二维振动辅助加工。驱动源通过圆弧型柔性铰链为工作台提供微米级的振动,外侧直梁型柔性铰链和内侧直梁型柔性铰链关于工作台对称布置,实现了工作台的解耦运动,为振动平台的高精度运动提供保证。本振动平台采用楔形预紧装置,调节更直观,预紧力均匀。通过调整预紧螺钉的位置,实现为不同类型和尺寸的驱动源预紧的目的,适应性强。

NO.8
专利名称:一种大粒径聚丙烯酸酯乳胶粒子的制备方法
专利号:ZL202111047401.9
发明人:潘明旺、李耀兴、袁金凤、张广林、潘志成
拟转化方式:许可
技术成熟度:样品、实验阶段
专利简介:
本发明为一种大粒径聚丙烯酸酯乳胶粒子的制备方法。该方法包括以下步骤:(1)制备聚丙烯酸酯酯待附聚胶乳;(2)将甲基丙烯酸二甲氨基乙酯、去离子水和分子量调节剂混合反应,得到高分子附聚剂;(3)再将待附聚胶乳和高分子附聚剂混合反应,得到附聚后大粒径粒子胶乳。本发明可通过控制pH、附聚剂加入量和附聚剂浓度调控最终制备的大粒径乳胶粒的粒径和粒径分布。
NO.9
专利名称:考虑多目标优化的交直流混合配电网分散式协调优化方法
专利号:ZL202111635992.1
发明人:王笑雪、顾梨婷、杨文泉
拟转化方式:许可
技术成熟度:样品、实验阶段
专利简介:
本发明涉及一种考虑多目标优化的交直流混合配电网分散式协调优化方法,包括以下步骤:步骤1:构建交直流混合配电网协调优化模型的目标函数和约束条件;步骤2:根据VSC的连接位置将交直流混合电网进行合理分区,得到相应的边界解耦方程及约束条件,使用增广拉格朗日法建立子区域的数学模型;区域内部采用步骤1中所建立的交直流混合配电网协调优化模型进行求解,采用二阶锥松弛等技术将非凸问题进行线性化处理,从而得到基于ADMM的凸优化数学模型,求解并得到新的网络潮流及FDS和VSC的运行功率,实现多目标的交直流混合配电网分散式协调优化运行。本发明降低了配电网的运行成本,提高了配电网的灵活性和安全性。

NO.10
专利名称:一种稀土铈掺杂硫化镍/硫化铁异质结材料的制备方法和应用
专利号:ZL202210310408.3
发明人:武兰兰、曹佳义、李敬德、刘桂华
拟转化方式:转让、许可
技术成熟度:样品、实验阶段
专利简介:
本发明为一种稀土铈掺杂硫化镍/硫化铁异质结材料的制备方法和应用。该方法包括如下步骤:(1)选择三电极体系,以泡沫镍作为工作电极,石墨棒作为对电极,Ag/AgCl(饱和KCl溶液)作为参比电极,以硝酸镍、硝酸铁和硝酸铈的混合液为电解液, 15~ 20mA下恒电流沉积600~900s,制得以泡沫镍作为载体的Ce NiFeLDH/NF前驱体;(2)将上步得到的以泡沫镍作为载体的Ce NiFeLDH/NF前驱体和硫粉放入到管式炉中,升温至300~400℃,保温120~150min,得到铈掺杂的硫化镍/硫化铁异质结构。本发明制备方法简便、易于操作且稀土铈的掺杂获得了更多的催化活性中心和更好的固有电催化活性。

NO.11
专利名称:一种建筑钢结构的连接节点
专利号:ZL202321829047.X
发明人:马浩、赵欣、吴华静、王群浩、赵记
拟转化方式:转让、许可
技术成熟度:样品、实验阶段
专利简介:
本实用新型涉及钢结构技术领域,具体为一种建筑钢结构的连接节点,包括下连接部和上连接部,所述下连接部顶部固定设置有下连接板,所述上连接部底部固定设置有上连接板,所述下连接板和上连接板上均设置有第一连接孔,所述下连接部内滑动设置有加强套,下连接部和上连接部通过下连接板和上连接板对齐进行拼接,将调节条向上移动,使加强套伸入上连接部内,可以通过螺栓进行固定连接,提高了下连接部和上连接部节点处的连接稳定性,通过侧连接座、侧连接部和侧连接板的设置,便于对侧连接部进行安装,通过另一组螺栓依次贯穿侧连接座、侧连接板和下连接部并伸入加强套上的第三连接口,可以进一步提高本结构的连接稳定性。

转化实施洽谈请联系河北工业大学技术转移中心
联系人:王老师
联系电话:022-60438356